Tillbaka till sökresultatet

BILDER

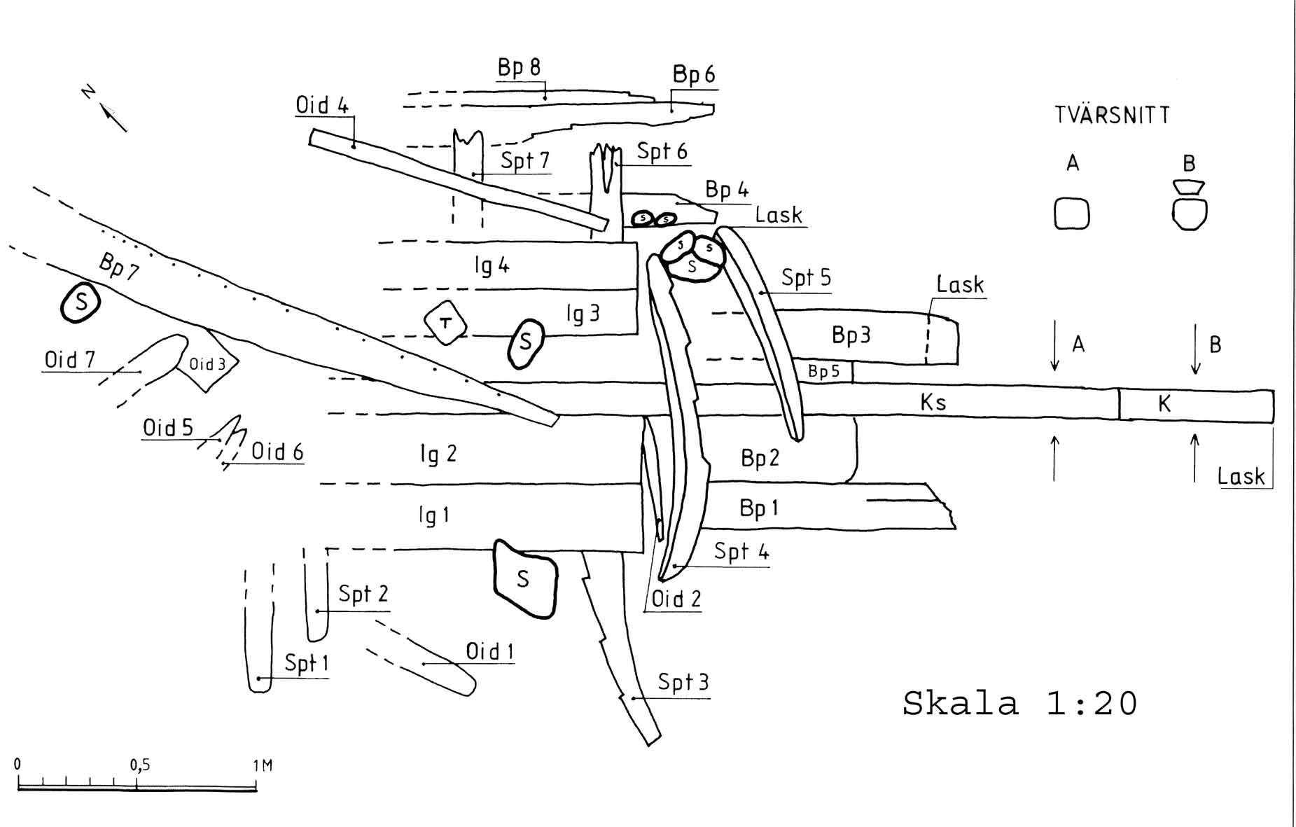
MÅTTSKISS, Härnösand 123:1, Härnösand 134

Foto

link to gallery
Upphovsman: <presImageByline>null, Kontakta Statens maritima museer.
Upphovsrätt: <presImageCopyright> null, Kontakta Statens maritima museer., Kontakta Statens maritima museer.
Licens: <mediaLicense> Licens
Typ <itemType> Foto
Plats <presPlaceLabel> Land: Sverige; Län: Västernorrland; Kommun: Härnösand; Landskap: Ångermanland; Socken: Härnösand
Titel <itemTitle> MÅTTSKISS, Härnösand 123:1, Härnösand 134
Beskrivning <itemDescription>
  • Plan över vraket. Upprättad i samband med undersökningarna år 2000.
Händelse <context>
  • Tillkomst i Härnösand 123:1, Härnösand, Härnösand, Ångermanland, Västernorrland, Sverige av Kontakta Statens maritima museer..
  • Arkiverad 2023-03-21 .
Titel<itemName>
MÅTTSKISS, Härnösand 123:1, Härnösand 134
Klassifikation <itemClassName>
  • Fotografi
FMIS bild-URL <itemNumber>
  • 22/2280/2470/foto/12000000541644_F.jpg
Arkiv referenskod <itemNumber>
  • SE/ATA/ARK5_13-1/B 3/15
Identifierare <itemNumber>
  • FMIS_Bild_12000000541644
Rättigheter för metadata <itemLicense> Licens
Källa <presOrganization> Riksantikvarieämbetet
Källa <url>

Teknisk data